Motor management bij S80
- Artem_s70
- Сообщения: 123
- Зарегистрирован: 11.07.2010 10:40
- Авто: Subaru Forester
- GSM: +375295566549
- Имя: Артём
- Откуда: Minsk/Malinovka
Motor management bij S80
Здравствуйте ребя, давно мучает проблема. S80 2000г.в, мотор d5252t, мешалка. Если держать обороты в районе 1000 секунд 10-15, то загорается чек и надпись motor management bij onderhoud (проверьте систему управления двигателем). Двигатель работает как и обычно, никаких проблем.
Диагностика (не Vida) пишет проблему по ЕГР.
Снимал ЕГР, чистил (хотя был совсем минимальный нагар) - не помогло.
Может у кого был похожий трабл, спасибо
Диагностика (не Vida) пишет проблему по ЕГР.
Снимал ЕГР, чистил (хотя был совсем минимальный нагар) - не помогло.
Может у кого был похожий трабл, спасибо
- moon_ster
- Сообщения: 2292
- Зарегистрирован: 16.11.2010 08:58
- Авто: S80'06 2.5T AWD XC90V8'08 executive
- GSM: +375296951960
- Имя: Иван
- Skype: ivan.balandzin
- № клубной карты: 81
- Откуда: Минск
- Контактная информация:
- djord
- Сообщения: 208
- Зарегистрирован: 10.08.2013 16:04
- Авто: S 80, 2,5 TDi, МКПП 1999г.в.
- GSM: +375257304056
- Имя: Денис
- Откуда: Кореличи, Новогрудок
такая же фигня, был у Андрейки на диагностике, сказал что ЕГР ошибку выдает. Там, видимо, прошлый(е) хозяева с вакуумными трубками на колхозили, может еще чего. В общем не парюсь я, езжу. И ты езди.
Добавлено спустя 1 минуту 39 секунд:
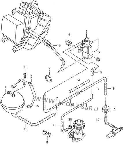
Хотя, может у кого схема подключения всего этого вакуумного добра есть, дык буду премного благодарен.
Добавлено спустя 1 минуту 39 секунд:
Хотя, может у кого схема подключения всего этого вакуумного добра есть, дык буду премного благодарен.
- Artem_s70
- Сообщения: 123
- Зарегистрирован: 11.07.2010 10:40
- Авто: Subaru Forester
- GSM: +375295566549
- Имя: Артём
- Откуда: Minsk/Malinovka
- djord
- Сообщения: 208
- Зарегистрирован: 10.08.2013 16:04
- Авто: S 80, 2,5 TDi, МКПП 1999г.в.
- GSM: +375257304056
- Имя: Денис
- Откуда: Кореличи, Новогрудок
- Artem_s70
- Сообщения: 123
- Зарегистрирован: 11.07.2010 10:40
- Авто: Subaru Forester
- GSM: +375295566549
- Имя: Артём
- Откуда: Minsk/Malinovka
-
Vitalysh
- Сообщения: 1790
- Зарегистрирован: 01.09.2009 11:08
- Авто: бмв какойто
- GSM: +480000000
- Имя: Vitaly
- № клубной карты: 35
- Откуда: Minsk-Poznań
-
volvo s 80
- Сообщения: 74
- Зарегистрирован: 14.01.2015 19:50
- Авто: volvo s80 2,5 tdi
- GSM: 9116969555
- Имя: серега
-
volvo s 80
- Сообщения: 74
- Зарегистрирован: 14.01.2015 19:50
- Авто: volvo s80 2,5 tdi
- GSM: 9116969555
- Имя: серега
